Every year, thousands of people get hurt falling on stairs. Many of these accidents could have been prevented.
Most stair falls happen when people don’t have anything to grab onto. The absence of support makes all the difference.
Handrails change this equation completely. They give people the grip and balance they need to stay upright.
This blog explains how handrails keep people safe on stairs. You will learn about the different purposes of handrails and laws related to them.
When are Handrails Necessary?
Building codes require handrails in most situations. Any staircase with four or more steps needs a handrail.
This rule applies to homes, offices, and public buildings.
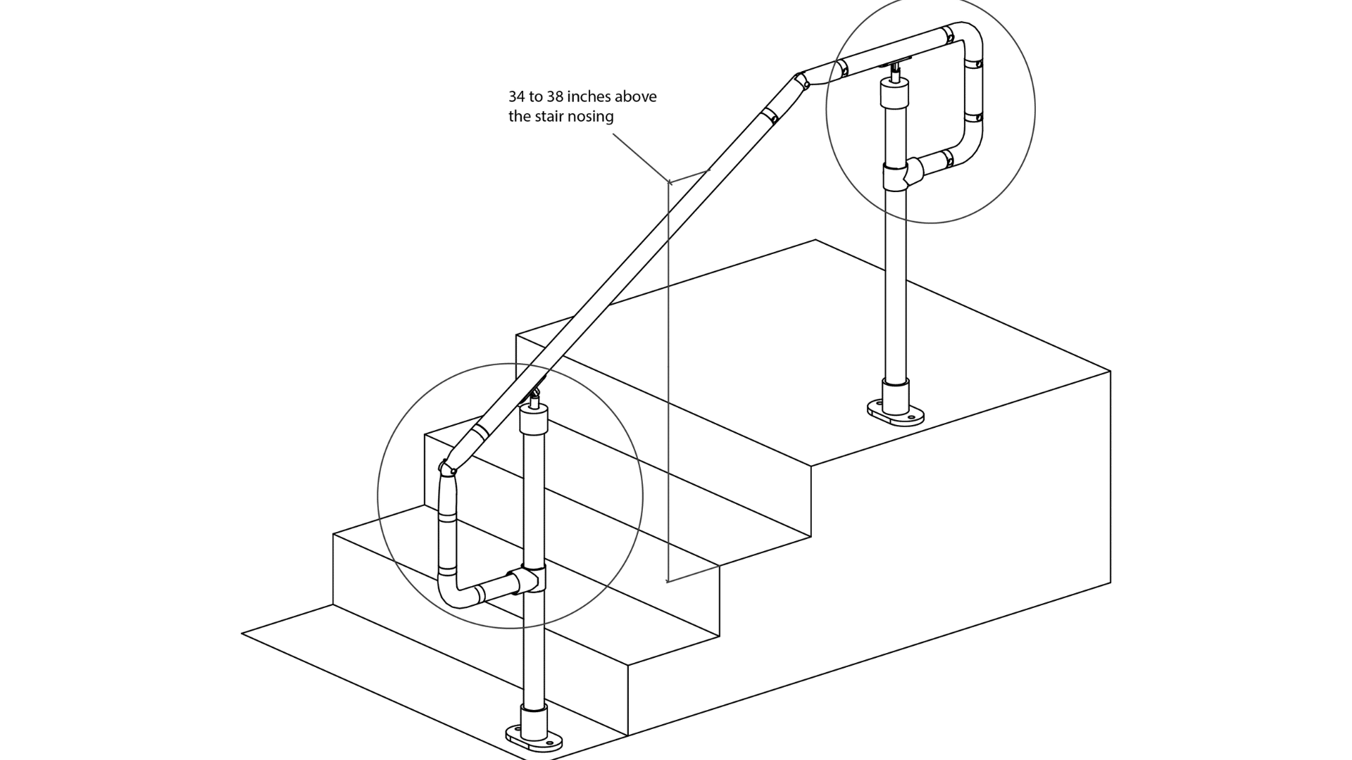
The requirements get stricter for commercial spaces. Both sides of wide staircases must have handrails. Height matters too. Handrails should sit between 34 and 38 inches from the stair surface.
Local codes may vary slightly. But the main goal is to keep people safe while they use stairs.
How Do Handrails on Stairs Help Keep You Safe?
Handrails work as a physical support system. They give people something solid to grip while moving up or down stairs.
Balance becomes easier with a handrail nearby. When someone feels unsteady, they can grab the rail immediately. This quick response prevents many falls before they happen.
The rails also help distribute body weight. Instead of relying only on leg strength, people can use their arms for extra support. This matters most for older adults or anyone carrying items.
Handrails create confidence, too. People feel more secure knowing help is within reach.
The Law on Handrail Safety

Handrail safety laws regulate the design, installation, and maintenance of handrails to prevent falls and injuries. These laws typically require handrails on stairs, ramps, and balconies in residential and commercial buildings.
Standards specify handrail height, strength, clearance, and continuity to ensure they provide adequate support.
Building codes such as the International Building Code (IBC) and the Americans with Disabilities Act (ADA) include strict handrail safety requirements.
Compliance with these laws reduces accidents, improves accessibility, and overall safety.
Property owners and contractors must adhere to these regulations during construction and renovations to meet legal and safety standards and avoid penalties
Other Benefits of Adding Handrails on Stairs
Handrails do more than prevent falls. They offer several practical benefits that improve daily life and add value to any property.
The following are some additional advantages of installing handrails on stairs.
Support for People with Mobility Issues
Handrails make stairs accessible for everyone. People with joint pain, arthritis, or limited strength need extra support.
The rail provides stability and reduces strain on knees and hips. This allows individuals to maintain independence and move around their homes safely without assistance from others.
Easier Navigation in Low Light
Stairs become tricky to use in dim conditions. Handrails act as a guide when visibility drops. People can follow the rail with their hand even when they can’t see each step clearly.
This prevents missteps during nighttime bathroom trips or power outages at home.
Help When Carrying Items
Holding groceries or laundry makes stair climbing difficult. A handrail lets people keep one hand free for balance.
They can carry bags, boxes, or children while staying stable. The rail compensates for the shifted weight and awkward positioning that come with loaded arms.
Increased Property Value
Home buyers look for safety features. Handrails signal that a property meets current building standards. They show the owner cares about maintenance and residents’ well-being.
This attention to detail can boost home appeal and potentially increase resale value when selling the property later.
Reduced Insurance Liability
Property owners face risks when accidents occur. Handrails lower the chance of injury lawsuits. Insurance companies recognize this protection.
Some providers may offer better rates for properties with proper safety installations. The rails demonstrate responsible property management and commitment to preventing foreseeable accidents.
The Types of Handrails
Different handrails suit different needs and styles. The right choice depends on the location, budget, and design preferences.
The following are the main types of handrails available for stairs.
1. Wall-Mounted Handrails
These rails attach directly to the wall surface. They save space and work well for narrow staircases. Installation requires secure anchoring into wall studs for proper support and safety.
2. Post-Mounted Handrails
Posts support these rails at regular intervals. They stand independently without needing a wall. This type works perfectly for open staircases or outdoor steps where walls aren’t available nearby.
3. Continuous Handrails
These rails run without breaks or interruptions. They extend along the entire staircase length. Users can maintain their grip from bottom to top, which provides maximum safety and comfort.
4. Return Handrails
The rail curves back toward the wall at endpoints. This design prevents clothing or bags from catching. It creates a smooth, finished look while eliminating sharp edges that could cause injury.
5. ADA-Compliant Handrails
These meet specific accessibility standards. They include features like proper diameter and extension requirements.
Public buildings must use this type to ensure access for people with disabilities and mobility challenges.
What Type of Handrails is Best for You?

Choosing the right handrail depends on several factors. Consider the staircase location first. Indoor stairs have different needs than outdoor ones.
Budget plays a role, too. Wood offers warmth and style but costs more than metal. Metal handrails last longer and need less maintenance over time.
Think about who uses the stairs most. Older adults benefit from rails with easier grip surfaces. Families with children might prefer smoother finishes without sharp edges.
The building’s style matters as well. Modern homes suit sleek metal designs. Traditional houses look better with wooden rails that match existing trim and decor.
To Wrap Up
Handrails serve a clear purpose on every staircase. They protect people from falls and injuries that happen too often without proper support.
Children, older adults, and people with mobility limitations all benefit from sturdy rails they can trust.
The investment pays off through increased safety and peace of mind. Fewer accidents mean fewer medical bills and less worry for property owners.
Small improvements today can prevent serious problems tomorrow. Make stairwell safety a priority now.